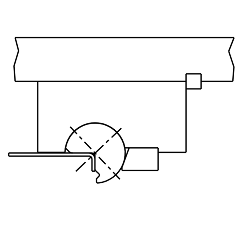
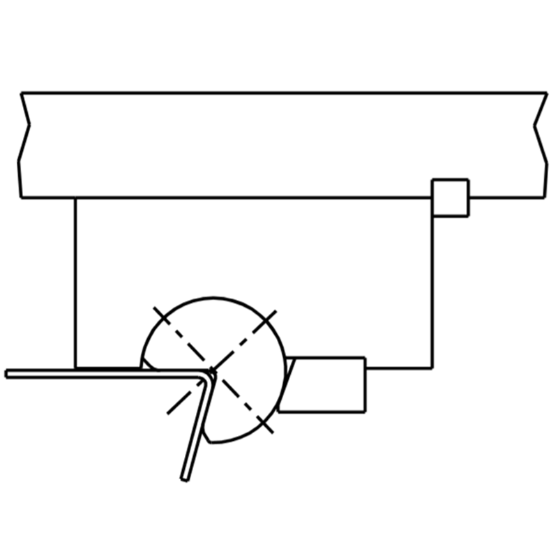
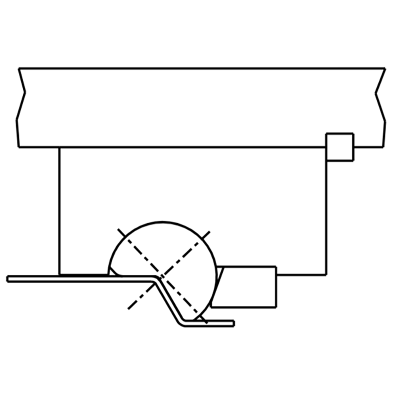
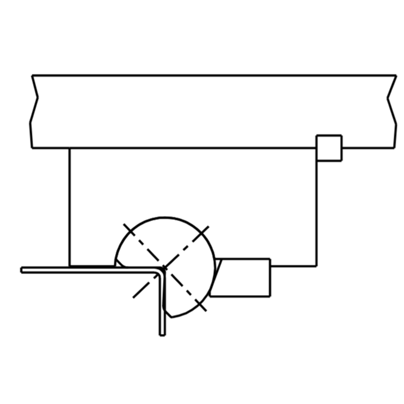
Roll C - TA
Shape TA, Bend with a Short Edge
Our use of Cookies on this Website
We use cookies to to give you the best experience possible & analyse our traffic. By clicking “Accept Cookies”, you agree to the storing of cookies on your device to enhance site navigation, analyse site usage, and assist in our marketing efforts.
We also share information about your use of our site with our social media, advertising, and analytics partners who may combine it with other information that you’ve provided to them or that they’ve collected from your use of their services.
Please view our cookie policy or privacy policy for more information.









